


Pour garantir une manipulation correcte et sans danger de la batterie au plomb-acide, lire les précautions suivantes attentivement avant de l'utiliser ou de l'inspecter.

S'assurer de toujours porter des lunettes de protection lorsque l'on travaille près de la batterie au plomb-acide.
Intervenir sans lunettes de protection est dangereux. Le liquide de la batterie au plomb-acide contient de l'ACIDE SULFURIQUE pouvant rendre aveugle s'il entre en contact avec les yeux. Aussi, l'hydrogène produit pendant le fonctionnement normal de la batterie au plomb-acide peut s'enflammer et faire exploser la batterie au plomb-acide.

Porter des lunettes de protection et des gants de protection pour éviter le contact avec du liquide de la batterie au plomb-acide.
Du liquide de batterie au plomb-acide renversé est dangereux. Le liquide de la batterie au plomb-acide contient de l'ACIDE SULFURIQUE pouvant causer de graves blessures s'il entre en contact avec les yeux, la peau ou les vêtements. Si cela se produit, se rincer immédiatement les yeux avec de l'eau pendant 15 minutes ou se laver la peau complètement et consulter un médecin.

S'assurer de toujours garder les batteries au plomb-acide hors de portée des enfants.
Le fait de laisser des enfants jouer près d'une batterie au plomb-acide est dangereux. Du liquide de batterie au plomb-acide peut causer de graves blessures s'il entre en contact avec les yeux ou la peau.

Garder les flammes et les étincelles à bonne distance des cellules de la batterie au plomb-acide, ne pas laisser des outils en métal entrer en contact avec la borne positive (+) ou négative (-) de la batterie au plomb-acide quand vous travaillez près de celle-ci. Ne pas laisser la borne positive (+) entrer en contact avec la carrosserie du véhicule.
Des flammes ou des étincelles près des cellules de la batterie au plomb-acide sont dangereuses. L'hydrogène produit pendant le fonctionnement normal de la batterie au plomb-acide peut s'enflammer et faire exploser la batterie au plomb-acide. Une batterie au plomb-acide qui explose peut causer de graves brûlures et blessures. Garder toutes les flammes, y compris les cigarettes et les étincelles, éloignées des cellules de la batterie au plomb-acide.

Garder toutes les flammes et les étincelles éloignées des cellules de la batterie au plomb-acide, car ces dernières dégagent du gaz hydrogène lors du chargement de la batterie au plomb-acide ou de l'ajout de liquide de batterie au plomb-acide.
Des flammes ou des étincelles près des cellules de la batterie au plomb-acide sont dangereuses. L'hydrogène produit pendant le fonctionnement normal de la batterie au plomb-acide peut s'enflammer et faire exploser la batterie au plomb-acide. Une batterie au plomb-acide qui explose peut causer de graves brûlures et blessures. Garder toutes les flammes, y compris les cigarettes et les étincelles, éloignées des cellules de la batterie au plomb-acide.
Avant d'effectuer l'entretien de la batterie, retirer le couvercle de batterie au plomb-acide.
Retrait du couvercle de batterie au plomb-acide

Entretien de la batterie au plomb-acide
Pour que les performances de la batterie au plomb-acide soient optimales :
Veiller à ce que la batterie soit toujours correctement fixée.
Veiller à ce que le dessus de la batterie soit propre et sec.
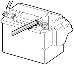
Veiller à ce que les bornes et les cosses soit propres et correctement serrées, et les enduire de vaseline ou de graisse pour borne.
Nettoyer immédiatement toute trace d'électrolyte avec un mélange d'eau et de bicarbonate de soude.
Si le véhicule n'est pas utilisé pendant une période prolongée, déconnecter les câbles de la batterie au plomb-acide et recharger la batterie au plomb-acide toutes les 6 semaines.

Remplacement de la batterie au plomb-acide
Contacter un concessionnaire agréé Mazda pour le remplacement de la batterie au plomb-acide.

Haut de
page