

Câble de charge
Le câble de charge est connecté à la prise électrique et au véhicule pour envoyer l'énergie électrique au véhicule. Pour les détails concernant le câble de charge, se reporter au manuel d'instructions accompagnant le câble de charge.

Connecteur de charge
Boîte de contrôle
Fiche de charge
Connecteur de charge
Le connecteur de charge est la pièce utilisée pour la connexion au port de charge du côté du véhicule.
Lorsque le connecteur de charge est branché au port de charge, le système du véhicule verrouille le connecteur de charge.
Lorsque le connecteur de charge est verrouillé par le système du véhicule, il se déverrouille lorsque la portière du conducteur est déverrouillée.
Si le connecteur de charge verrouillé par le système du véhicule n'est pas déverrouillé alors que la portière du conducteur est déverrouillée, consulter un concessionnaire agréé Mazda.
Les conditions de verrouillage du système du véhicule peuvent être modifiées.
Se référer à Utilisations pratiques de la charge (Rechercher).
Boîte de contrôle
La boîte de contrôle indique l'état de charge en allumant/faisant clignoter le témoin.
Pour la séquence d'éclairage/clignotement du témoin, se reporter au manuel d'instructions accompagnant le câble de charge.
Fiche de charge
La fiche de charge est la pièce qui permet de se connecter à la prise électrique.
En général, garder le câble de charge à la maison. Si le câble de charge est conservé dans le véhicule, le fixer fermement en suivant la procédure suivante.
Conserver le câble de charge dans son sac de rangement spécial.
Fixer les deux crochets du sac de rangement à chacun des deux crochets à bagages situés sur le côté droit du compartiment à bagages et fixer fermement le sac de rangement. À ce moment, s'assurer que le logo sur le sac de rangement est orienté vers le centre du compartiment à bagages.
Faire attention en manipulant le sac de rangement, car les crochets du sac de rangement ont des zones pointues. Si vous touchez ces zones pointues avec les mains ou les doigts, vous risquez de vous blesser.
Lorsque les crochets du sac de rangement et les crochets à bagages se cognent les uns contre les autres, ils font du bruit. Si le bruit détourne votre attention pendant que vous conduisez, enrouler l'étoffe incluse autour des zones où les crochets se touchent.

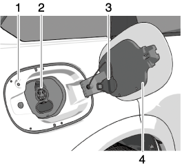
Port de charge

Indicateur de charge
Port de charge
Couvercle du port de charge
Trappe du port de charge
Indicateur de charge
L'indicateur de charge indique l'état de charge en allumant/faisant clignoter le témoin.
Pour la séquence d’éclairage/clignotement de l’indicateur de charge, se référer à [Charge].
Trappe du port de charge
La trappe du port de charge est verrouillé/déverrouillé en conjonction avec le mécanisme de verrouillage/déverrouillage des portières.
En déverrouillant la portière du conducteur, la trappe du port de charge est déverrouillée. En verrouillant la portière du conducteur, la trappe du port de charge est verrouillée.
Cependant, si la portière du conducteur est déverrouillée à l'aide de la clé auxiliaire, la trappe du port de charge n'est pas déverrouillée.
Lorsque la portière du conducteur est verrouillée à l'aide de l'une des fonctions suivantes, la trappe du port de charge est verrouillée en même temps.
Fonction de verrouillage automatique des portières par détection de la vitesse du véhicule
Fonction de reverrouillage automatique
Port de charge
Le port de charge est la partie utilisée pour la connexion au connecteur de charge du câble de charge. Il est utilisé pour la charge.

Haut de
page