

Les cires chaudes appliquées par des lave-auto automatiques peuvent réduire la capacité de nettoyage des essuie-glaces.
L'utilisation d'un revêtement hydrofuge peut entraîner un dysfonctionnement des essuie-glaces ou réduire leur efficacité.
Afin d'éviter d'endommager les balais d'essuie-glace, ne pas utiliser d'essence, kérosène, diluant pour peinture ou autres dissolvants sur ou à proximité des balais d'essuie-glace.
Lorsque le levier d'essuie-glace est sur la position AUTO et que l’alimentation du véhicule est mise sur ON, les essuie-glaces peuvent se mettre en marche automatiquement dans les cas suivants:
Si le pare-brise au-dessus du capteur de pluie est touché.
Si le pare-brise au-dessus du capteur de pluie est essuyé avec un chiffon.
Si le pare-brise est frappé avec la main ou un autre objet.
Si le capteur de pluie est frappé avec la main ou un autre objet à partir de l'intérieur du véhicule.
Faire attention à ne pas se faire pincer les mains ou les doigts car ils peuvent subir des blessures ou endommager les essuie-glace. Lorsque le véhicule Mazda est lavé ou réparé, veiller à ce que le levier d'essuie-glace soit à la position OFF.
Avant de soulever les balais d'essuie-glace avant, toujours suivre la procédure de déplacement des balais d'essuie-glace avant. Sinon, un balai d'essuie-glace, un bras d'essuie-glace ou le capot pourraient être endommagés.
La contamination du pare-brise ou des balais d'essuie-glace par des matières étrangères peut réduire l'efficacité des balais d'essuie-glace. Les sources fréquentes de contamination sont les insectes, la sève d'arbre et les traitements à la cire chaude utilisée dans certains appareils de lave-auto automatiques.
Si les balais n'essuient pas correctement, nettoyer la vitre et les balais avec un bon produit de nettoyage ou du détergent doux et rincer entièrement à l'eau limpide. Répéter l'opération si nécessaire.
Vous pouvez remplacer les balais d'essuie-glace vous-même, mais vous ne pouvez pas remplacer les bras d'essuie-glace.
Si vous voulez remplacer les bras d'essuie-glace, consultez un concessionnaire agréé Mazda.
Remplacement des caoutchoucs pour balais d'essuie-glace de pare-brise
Déplacez les essuie-glaces aux positions de service à l'aide de la procédure suivante.
Mettre l'alimentation du véhicule sur ON.
Mettre l'alimentation du véhicule sur OFF.
Pousser 2 fois l’interrupteur des essuie-glaces à la position MIST dans les 30 secondes après avoir positionné l’alimentation du véhicule sur OFF.
Une fois la procédure terminée, les essuie-glaces fonctionnent et s'arrêtent aux positions de service.
Relever les bras d'essuie-glace.
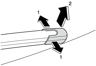
Faire glisser le balai dans le sens indiqué par la flèche tout en appuyant sur la languette du bras de l'essuie-glace pour retirer le balai.





S'assurer que le balai en caoutchouc est correctement installé dans le support de balai.

Rabaisser délicatement les bras de l'essuie-glace sur le pare-brise.
Pour empêcher les dommages au pare-brise, laisser retomber doucement l'essuie-glace sans le frapper contre le pare-brise.
Déplacer les essuie-glaces à leur position initiale à l'aide de la procédure suivante.
S’assurer que les essuie-glaces reposent sur le pare-brise.
Mettre l'alimentation du véhicule sur ON.
Pousser 2 fois l’interrupteur des essuie-glaces à la position MIST.
Remplacement du caoutchouc pour balai d'essuie-glace arrière
Pour éviter d'endommager le bras d'essuie-glace et les autres composants, ne pas déplacer manuellement l'essuie-glace.
Retirer le couvercle.

Retirer la butée.

Relever le bras d'essuie-glace et tourner le balai d'essuie-glace vers la droite jusqu'à ce qu'il se déverrouille, puis retirer le balai.

Pour ne pas abîmer la lunette arrière, ne pas laisser retomber le bras d'essuie-glace contre celle-ci.

Retirer les barres métalliques du caoutchouc du balai d'essuie-glace retiré et les monter sur un caoutchouc pour balai d'essuie-glace neuf.

Ne pas plier ou jeter les barres métalliques. Elles doivent être réutilisées.

Installer l'ensemble du balai dans l'ordre inverse de celui du retrait.

Haut de
page