

L'interrupteur de commande peut être utilisé pour passer à chaque fonction et utiliser chaque fonction.
Placer la paume de votre main sur le bouton de commande de façon à ce que vos doigts puissent toucher chacun des interrupteurs.
Vous pouvez changer d'écran sans avoir à regarder votre main.
Pour des raisons de sécurité, certaines opérations sont désactivées pendant la conduite du véhicule.

La forme des interrupteurs varie selon les spécifications du véhicule.
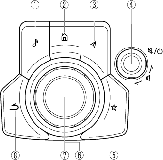
|
Nº |
Dénomination |
Explication |
|---|---|---|
|
1 |
![]() |
Bouton de divertissement : Le dernier écran de source audio utilisé s'affiche.
(Pendant la lecture de musique Apple CarPlay™ ou Android Auto™) Affiche l'écran Apple CarPlay™ ou Android Auto™ en cours de lecture. |
|
2 |
![]() |
Bouton Accueil : Affiche l'écran d'accueil.
(Pendant qu'Apple CarPlay™ ou Android Auto™ s'affiche) Affiche l'écran d'accueil Apple CarPlay™ ou Android Auto™.
(Pendant qu'Apple CarPlay™ ou Android Auto™ est connecté) Appuyer et maintenir pendant que l'écran Mazda Connect s'affiche pour passer de l’écran de Mazda Connect à Apple CarPlay™ ou de Mazda Connect à Android Auto™. En outre, appuyer et maintenir pendant que l'écran Apple CarPlay™ ou Android Auto™ s'affiche pour passer à l'écran Mazda Connect. |
|
3 |
![]() |
Bouton Carte : Affiche l'écran de navigation (véhicules équipés d'un système de navigation). Pour que le système de navigation fonctionne, la carte SD du système de navigation est nécessaire. Si la carte SD pour le système de navigation n'est pas insérée, la boussole indiquant le sens de déplacement du véhicule s'affiche. Pour le fonctionnement du système de navigation, se référer au manuel du système de navigation.
(Pendant le guidage routier Apple CarPlay™ ou Android Auto™) Affiche l'écran de carte Apple CarPlay™ ou Android Auto™.
Lorsqu'un itinéraire de navigation Mazda est actif, appuyer sur le bouton Carte pour répéter le guidage vocal de navigation. |
|
4 |
![]() |
Bouton de volume : Réglage du volume Régler le volume en tournant le bouton de volume. Si vous réglez le volume pendant le guidage vocal, le volume du guidage vocal change. Si vous réglez le volume pendant un appel mains libres, le volume de la conversation change. Appuyer sur le bouton de volume pour couper/mettre en pause le son. Appuyer à nouveau sur le bouton pour reprendre.
Éteindre/allumer Type A Appuyer longuement pour éteindre Mazda Connect et l'écran. Appuyer longuement à nouveau pour allumer Mazda Connect.
Si vous appuyez sur le bouton de volume pour couper le son d'une source audio qui peut être mise en pause, telle que Apple CarPlay™, l’audio USB ou l’audio Bluetooth®, pendant la lecture, la lecture du morceau est interrompue. Appuyer à nouveau sur le bouton de volume pour annuler la coupure du son et la pause en même temps. Type B Appuyer longuement pour éteindre Mazda Connect et l'écran. Appuyer à nouveau pour allumer Mazda Connect.
|
|
5 |
![]() |
Touche favoris : Affiche l'écran des favoris. Maintenez enfoncé pour enregistrer les stations AM/FM/SiriusXM® (Certains Modèles), les contacts, les destinations de navigation ou tout autre élément de menu en surbrillance pour créer des raccourcis facilement accessibles. |
|
6 |
![]() |
Bouton de commande (sélection) : Tourner ou faire glisser le bouton de commande pour mettre en surbrillance/sélectionner les fonctions à l'écran que vous souhaitez utiliser. |
|
7 |
![]() |
Bouton de commande (sélectionner) : Appuyer sur le bouton de commande pour sélectionner la fonction à l'écran que vous voulez utiliser. |
|
8 |
![]() |
Bouton Retour : Retourne à l'écran précédent. |

Haut de
page