

L'interrupteur de commande peut être utilisé pour passer à chaque fonction et pour activer chaque fonction.
Placer la paume de la main sur le bouton de commande afin que les doigts touchent chacun des interrupteurs.
Il est possible de passer d'un écran à l'autre sans avoir à regarder la main.
Pour des raisons de sécurité, certaines opérations sont désactivées durant la conduite du véhicule.

La forme des interrupteurs varie selon les spécifications du véhicule.
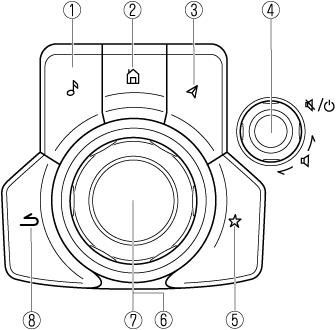
|
Nº |
Dénomination |
Explication |
|---|---|---|
|
1 |
![]() |
Touche Divertissements : L'écran de source audio utilisé en dernier est affiché.
(Pendant la lecture de musique Apple CarPlay™ ou Android Auto™) Affiche l'écran Apple CarPlay™ ou Android Auto™ en cours de lecture. |
|
2 |
![]() |
Touche d'accueil : Affiche l'écran d'accueil.
(Pendant qu'Apple CarPlay™ ou Android Auto™ s'affiche) Affiche l'écran d'accueil Apple CarPlay™ ou Android Auto™.
(Pendant qu'Apple CarPlay™ ou Android Auto™ est connecté) Appuyer et maintenir pendant que l'écran Mazda Connect s'affiche pour passer de l’écran de Mazda Connect à Apple CarPlay™ ou de Mazda Connect à Android Auto™. En outre, appuyer et maintenir pendant que l'écran Apple CarPlay™ ou Android Auto™ s'affiche pour passer à l'écran Mazda Connect. |
|
3 |
![]() |
Touche carte : Affiche l'écran de navigation (véhicules équipés d'un système de navigation). Pour que le système de navigation fonctionne, la carte SD du système de navigation est nécessaire. Si la carte SD pour le système de navigation n'est pas insérée, la boussole indiquant le sens de déplacement du véhicule s'affiche. Pour l'utilisation du système de navigation, se référer au manuel du système de navigation.
(Pendant le guidage routier Apple CarPlay™ ou Android Auto™) Affiche l'écran de carte Apple CarPlay™ ou Android Auto™.
Lorsqu'un itinéraire de navigation Mazda est actif, appuyer sur le bouton Carte pour répéter le guidage vocal de navigation. |
|
4 |
![]() |
Bouton de volume : Réglage du volume Régler le volume en faisant tourner le bouton de volume. Si vous réglez le volume pendant le guidage vocal, le volume du guidage vocal change. Si vous réglez le volume pendant un appel mains libres, le volume de la conversation change. Appuyer sur le bouton de volume pour couper/mettre en pause le son. Appuyer à nouveau sur le bouton pour reprendre.
Éteindre/allumer Appuyer longuement pour éteindre Mazda Connect et l'écran. Appuyer longuement à nouveau pour allumer Mazda Connect.
Si vous appuyez sur le bouton de volume pour couper le son d'une source audio qui peut être mise en pause, telle que Apple CarPlay™, l’audio USB ou l’audio Bluetooth®, pendant la lecture, la lecture du morceau est interrompue. Appuyer de nouveau sur le bouton de volume pour annuler la sourdine et la pause en même temps.
Sélectionner une station radio (Radio FM/AM) Les stations de radio enregistrées dans vos Favoris peuvent être sélectionnées en faisant glisser le bouton de volume vers la gauche (SEEK DOWN)/vers la droite (SEEK UP) pendant que vous écoutez la radio FM/AM/SiriusXM® (Certains Modèles). La station change à chaque fois que vous faites glisser le bouton de volume. Si vous souhaitez syntoniser manuellement la prochaine station disponible avant ou après la station actuellement sélectionnée, faites glisser le bouton de volume vers la gauche (SEEK DOWN) ou vers la droite (SEEK UP) et maintenez-le jusqu'à ce que vous entendiez un bip et le syntoniseur sélectionnera la station disponible suivante. (Radio DAB) (Certains Modèles) Il est possible de retrouver des stations radio enregistrées dans vos Favoris en faisant glisser le bouton de volume vers la gauche/droite pendant l'écoute de la radio DAB. Les stations radio changent chaque fois que l'on fait glisser le bouton de volume. De plus, le service passe au service suivant lorsque vous continuez de faire glisser le bouton vers la droite jusqu'à ce que vous entendiez un bip, et il passe au service précédent lorsque vous continuez de faire glisser le bouton vers la gauche. S'il n'y a pas de service suivant ou précédent dans l'Ensemble sélectionné, l'Ensemble change.
Commande de lecture Il est possible d'effectuer une lecture de recherche sur des fichiers audio et vidéo lors de l'écoute de contenu stocké via USB, Bluetooth®, et SiriusXM® (Certains Modèles), audio ou vidéo. Faites glisser le bouton de volume vers la droite pour passer à la piste suivante ou vers la gauche pour revenir à la piste précédente. Vous pouvez également faire glisser le bouton de volume et le maintenir enfoncé pour avancer ou reculer rapidement dans la piste. |
|
5 |
![]() |
Touche favoris : Affiche l'écran des favoris. Maintenez enfoncé pour enregistrer les stations AM/FM/SiriusXM® (Certains Modèles), les contacts, les destinations de navigation ou tout autre élément de menu en surbrillance pour créer des raccourcis facilement accessibles. |
|
6 |
![]() |
Bouton de commande (sélection) : Tourner ou faire glisser le bouton de commande pour mettre en surbrillance/sélectionner les fonctions à l'écran que vous souhaitez utiliser. |
|
7 |
![]() |
Bouton de commande (sélectionner) : Appuyer sur le bouton de commande pour sélectionner la fonction à l'écran que vous voulez utiliser. |
|
8 |
![]() |
Touche retour : Retourne à l'écran précédent. |

Haut de
page