

Before lifting the windshield wiper blades off the windshield, always follow the procedure for moving the windshield wiper blades. Otherwise, a wiper blade, wiper arm, or the hood could be damaged.
When replacing the wiper blade rubber, do not bend the wiper blade rubber more than necessary. Otherwise, the metal part in the wiper blade may deform and the wiping performance may lower.
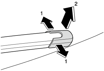
When raising the wiper arms, hold the wiper arms and raise them. Otherwise, the part may deform and the wiping performance may lower.
If the wiper arm with the wiper blade removed hits the windshield too hard, the windshield may be damaged. While the wiper blade is removed, wrap a cloth around the end of the wiper arm.
You can replace the wiper blades yourself, however you cannot replace the wiper arms. If you want to replace the wiper arms, consult an Authorized Mazda Dealer.
Front Windshield Wipers
Component Parts of Front Windshield Wipers

1 Wiper blade rubber
2 Wiper blade
3 Wiper arm
Replacing Front Windshield Wiper Blade rubbers
Raise the wiper arms.
Refer to Raising the Front Windshield Wipers (Search).
Slide the blade component in the direction of the arrow while pressing the wiper arm tab to remove the blade component from the wiper arm.

Pull out the end of the blade rubber from the notch at the end of the blade.

Remove the blade rubber by pulling it out as it is or by peeling it off toward the opposite side.

Insert a new blade rubber through the notch at the end of the blade.
When inserting the blade rubber, do not grip the blade body tightly.

When all of the blade rubber is inserted, adjust the position.

Make sure that the blade rubber is correctly installed to the blade holder.

Lower the wiper arms.
Refer to Raising the Front Windshield Wipers (Search).
Rear Window Wiper
Component Parts of Rear Window Wiper

1 Wiper blade rubber
2 Wiper blade
3 Wiper arm
4 Metal plates
Replacing Rear Window Wiper Blade rubber
To prevent damage to the wiper arm and other components, do not move the wiper by hand.
Remove the cover.

Remove the stopper.

Raise the wiper arm.

Rotate the wiper blade to the right until it unlocks, then remove the blade.


Remove the metal plates from the blade rubber and install them in the new blade rubber.

Install the blade assembly in the reverse order of removal.
To prevent damage to the rear window, do not let the wiper arm fall on it.

Page top