

Wash hands after handling the battery and related accessories.
Battery posts, terminals and related accessories contain lead and lead compounds, chemicals known to the State of California to cause cancer and reproductive harm.

Read the following precautions carefully before using the lead-acid battery or inspecting to ensure safe and correct handling.

Always wear eye protection when working near the lead-acid battery.
Working without eye protection is dangerous. Lead-acid battery fluid contains SULFURIC ACID which could cause blindness if splashed into your eyes. Also, hydrogen gas produced during normal lead-acid battery operation, could ignite and cause the lead-acid battery to explode.

Wear eye protection and protective gloves to prevent contact with lead-acid battery fluid.
Spilled lead-acid battery fluid is dangerous. Lead-acid battery fluid contains SULFURIC ACID which could cause serious injuries if it gets in eyes, or on the skin or clothing. If this happens, immediately flush your eyes with water for 15 minutes or wash your skin thoroughly and get medical attention.

Always keep lead-acid batteries out of the reach of children.
Allowing children to play near lead-acid batteries is dangerous. Lead-acid battery fluid could cause serious injuries if it gets in the eyes or on the skin.

Keep flames and sparks away from lead-acid battery cells and do not allow metal tools to contact the positive (+) or negative (-) terminal of the lead-acid battery when working near a lead-acid battery. Do not allow the positive (+) terminal to contact the vehicle body.
Flames and sparks near lead-acid battery cells are dangerous. Hydrogen gas, produced during normal lead-acid battery operation, could ignite and cause the lead-acid battery to explode. An exploding lead-acid battery can cause serious burns and injuries. Keep all flames including cigarettes and sparks away from lead-acid battery cells.

Keep all flames and sparks away from lead-acid battery cells because hydrogen gas is produced from lead-acid battery cells while charging the lead-acid battery or adding lead-acid battery fluid.
Flames and sparks near lead-acid battery cells are dangerous. Hydrogen gas, produced during normal lead-acid battery operation, could ignite and cause the lead-acid battery to explode. An exploding lead-acid battery can cause serious burns and injuries. Keep all flames including cigarettes and sparks away from lead-acid battery cells.
Before performing lead-acid battery maintenance, remove the lead-acid battery cover.
Removing the Lead-acid Battery Cover

Maintaining Lead-acid Battery
To get the best service from a lead-acid battery:
Keep it securely mounted.
Keep the top clean and dry.
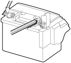
Keep terminals and connections clean, tight, and coated with petroleum jelly or terminal grease.
Rinse off spilled electrolyte immediately with a solution of water and baking soda.
If the vehicle will not be used for an extended time, disconnect the lead-acid battery cables and charge the lead-acid battery every 6 weeks.

Replacing lead-acid battery
Contact an Authorized Mazda Dealer for lead-acid battery replacement.

Page top