Replacing Interior Light Bulbs

Overhead lights (Front)/Map lights (Front) (LED type), Overhead lights (Center)/Map lights (Center) (LED type), Overhead lights (Rear) (LED type), Vanity mirror lights (LED type), Ambient lights

The LED bulb cannot be replaced as a single unit because it is an integrated unit.

The LED bulb has to be replaced with the unit. If a replacement is necessary, consult an Authorized Mazda Dealer.

Overhead lights (Front)/Map lights (Front) (bulb type), Overhead lights (Center)/Map lights (Center) (bulb type), Overhead light (Rear) (bulb type), Vanity mirror lights (bulb type)

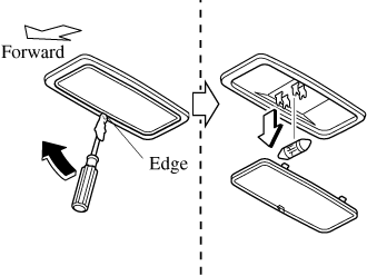
  1. Wrap a small flathead screwdriver with a soft cloth to prevent damage to the lens, and then remove the lens by carefully prying on the edge of the lens with the flathead screwdriver.

  2. Disconnect the bulb by pulling it out.

    Overhead lights (Front)/Map lights (Front)

     

     

    Overhead lights (Center)/Map lights (Center)

     

     

    Overhead light (Rear)

     

    Vanity mirror lights

     

  3. Install the new bulb in the reverse order of the removal procedure.

Luggage compartment light

(LED type)

The LED bulb cannot be replaced as a single unit because it is an integrated unit.

The LED bulb has to be replaced with the unit. If a replacement is necessary, consult an Authorized Mazda Dealer.

(Bulb type)

  1. Wrap a small flathead screwdriver with a soft cloth to prevent damage to the lens and remove the lens unit by carefully prying on the edge of the lens unit with the flathead screwdriver.

     

  2. Disconnect the electrical connector from the bulb by pressing the tab on the connector with your finger and pulling the connector.

     

     


    When replacing the bulb always disconnect the connector first. Otherwise, electric and electronic devices could be shorted.

  3. Insert the flathead screwdriver into the gap between the lens and the lens unit, and then slide the screwdriver to detach the lens.

     

  4. Disconnect the bulb by pulling it out.

     

  5. Install the new bulb in the reverse order of the removal procedure.

Page top